Nouveau système de serrage - prototype en cours ;)
- tnjdrumming
- J'ai vu de la lumière et j'suis entré
- Messages : 16
- Inscription : 12 août 2021, 18:18
- Matos : Premier (Scottish snare drum)
- Présentation : https://www.latavernedesbatteurs.com/vi ... 16&t=11329
Nouveau système de serrage - prototype en cours ;)
Bonjour à tous,
Je me permets d'adresser un message sur ce forum car je développe actuellement un système de serrage pour toms et caisses-claires (brevet déposé) et j’essaye de sonder un peu les batteurs de mon entourage : en gros, en tant que batteur, seriez vous intéressé par un mécanisme intégré au cercle de serrage, qui vous permettrait de serrer ou desserrer une peau, sans bouger la clé de serrage d'un tirant à l'autre ? Le système inventé permet en effet d’actionner tous les tirants d’un seul coup de main. Objectif : serrage et desserrage plus rapides, tension identique devant chaque tirant.
Pensez vous que cela peut intéresser la communauté des batteurs ? Merci !
Tanguy
Je me permets d'adresser un message sur ce forum car je développe actuellement un système de serrage pour toms et caisses-claires (brevet déposé) et j’essaye de sonder un peu les batteurs de mon entourage : en gros, en tant que batteur, seriez vous intéressé par un mécanisme intégré au cercle de serrage, qui vous permettrait de serrer ou desserrer une peau, sans bouger la clé de serrage d'un tirant à l'autre ? Le système inventé permet en effet d’actionner tous les tirants d’un seul coup de main. Objectif : serrage et desserrage plus rapides, tension identique devant chaque tirant.
Pensez vous que cela peut intéresser la communauté des batteurs ? Merci !
Tanguy
-
albator76
Nouveau système de serrage - prototype en cours ;)
Bonjour et bienvenue à la Taverne
Un petit passage par la case présentation serait top pour en savoir plus sur toi et pourrait engendrer d avantages d intérêt pour ton topic.

Un petit passage par la case présentation serait top pour en savoir plus sur toi et pourrait engendrer d avantages d intérêt pour ton topic.
- SpeeRoo
- Fait partie des murs
- Messages : 3975
- Inscription : 30 janv. 2020, 23:44
- Matos : Yam GigMaker, TD15,Yam Stage Custom, Ludwig Cavern
- Présentation : https://www.latavernedesbatteurs.com/vi ... 16&t=10391
- Présentation matos : https://youtu.be/wqcSorWTfhg
- Localisation : Bord de l’eau
Nouveau système de serrage - prototype en cours ;)
Mouai…
Perso je ne vois aucun intérêt à ce système
J’aime trop régler ma drum tirant par tirant, c’est même un plaisir et justement pour des ajustements fins je trouve hyper riche et intéressant d’agir finement sur UN SEUL tirant en miroir haut/bas.
Franchement, non ! Ça ne m’intéresse pas .
Perso je ne vois aucun intérêt à ce système
J’aime trop régler ma drum tirant par tirant, c’est même un plaisir et justement pour des ajustements fins je trouve hyper riche et intéressant d’agir finement sur UN SEUL tirant en miroir haut/bas.
Franchement, non ! Ça ne m’intéresse pas .
-
albator76
Nouveau système de serrage - prototype en cours ;)
bah moi ca m'interresse, par curiosité d'abord car en 20 ans d'utilisation, ma drum s'est jamais désaccordée et je n'ai pas de bloqueur de tirant.
les nouvelles technologies sont toujours enrichissantes.
Dis nous en d'avantage. Des photos , des illustrations, des exemples... donne nous de l'interet
les nouvelles technologies sont toujours enrichissantes.
Dis nous en d'avantage. Des photos , des illustrations, des exemples... donne nous de l'interet
- tnjdrumming
- J'ai vu de la lumière et j'suis entré
- Messages : 16
- Inscription : 12 août 2021, 18:18
- Matos : Premier (Scottish snare drum)
- Présentation : https://www.latavernedesbatteurs.com/vi ... 16&t=11329
Nouveau système de serrage - prototype en cours ;)
Merci pour vos premiers retours,
c'est intéressant d'observer déjà que ça ne fait pas forcément l'unanimité
Le système breveté est accessible ici, avec une vue de coupe : https://worldwide.espacenet.com/publica ... cale=fr_EP
Au plaisir d'échanger !
c'est intéressant d'observer déjà que ça ne fait pas forcément l'unanimité
Le système breveté est accessible ici, avec une vue de coupe : https://worldwide.espacenet.com/publica ... cale=fr_EP
Au plaisir d'échanger !
-
Mr drum
- Fait partie des murs
- Messages : 13131
- Inscription : 08 déc. 2010, 21:18
- Matos : PEARL et pis c'est tout!! et le home made
- Présentation matos : viewtopic.php?f=17&t=45&p=365#p365
- Localisation : dans ma foret des vooooosges
Nouveau système de serrage - prototype en cours ;)
je viens de lire le liens partagé (et pas en diagonale c'coup ci )
tu aurais une image ne grand de ton syteme à recoller ici
sur le site l'image est trop petite, j'arrive pas à voir les details et apres avoir relu le commentaire plusieurs fois, j'suis pas sur d'avoir compris la finalité de la chose
tu pourrais nous sortie l'image du plan en grand format steuplait ?
tu aurais une image ne grand de ton syteme à recoller ici
sur le site l'image est trop petite, j'arrive pas à voir les details et apres avoir relu le commentaire plusieurs fois, j'suis pas sur d'avoir compris la finalité de la chose
tu pourrais nous sortie l'image du plan en grand format steuplait ?
- tnjdrumming
- J'ai vu de la lumière et j'suis entré
- Messages : 16
- Inscription : 12 août 2021, 18:18
- Matos : Premier (Scottish snare drum)
- Présentation : https://www.latavernedesbatteurs.com/vi ... 16&t=11329
Nouveau système de serrage - prototype en cours ;)
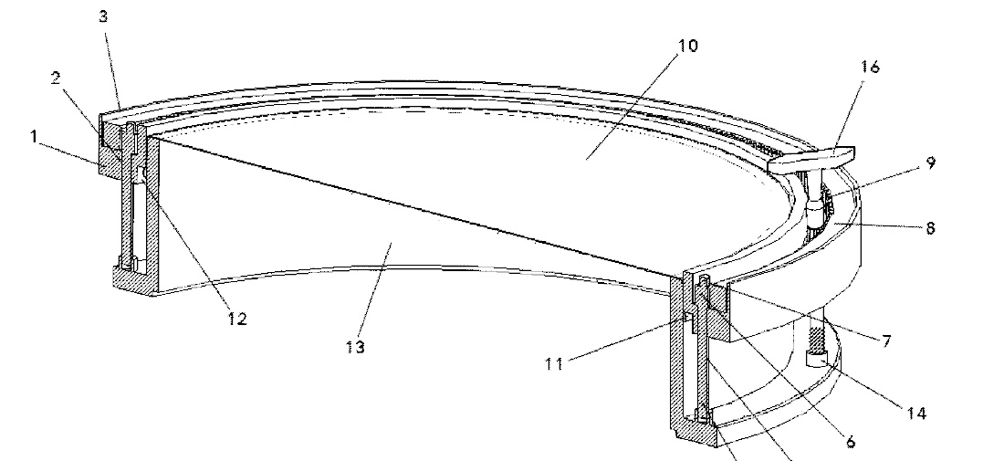
Hello,
Voici deux images plus grandes : une vue globale et une vue de coupe.
Pour faire simple :
- un nouveau cercle de serrage est posé sur la peau. Le fut ne change pas, les peaux de changent pas.
- ce nouveau cercle comporte : une courroie dentée en contact avec des vis à engrenages. Ces vis remplacent les vis classiques.
- Avec une clé de serrage classique, il suffit alors d'actionner l'une des vis ('n'importe laquelle) pour entrainer toutes les autres en même temps.
Est-ce que c'est plus clair à comprendre comme cela ?
Merci


Voici deux images plus grandes : une vue globale et une vue de coupe.
Pour faire simple :
- un nouveau cercle de serrage est posé sur la peau. Le fut ne change pas, les peaux de changent pas.
- ce nouveau cercle comporte : une courroie dentée en contact avec des vis à engrenages. Ces vis remplacent les vis classiques.
- Avec une clé de serrage classique, il suffit alors d'actionner l'une des vis ('n'importe laquelle) pour entrainer toutes les autres en même temps.
Est-ce que c'est plus clair à comprendre comme cela ?
Merci


-
Mr drum
- Fait partie des murs
- Messages : 13131
- Inscription : 08 déc. 2010, 21:18
- Matos : PEARL et pis c'est tout!! et le home made
- Présentation matos : viewtopic.php?f=17&t=45&p=365#p365
- Localisation : dans ma foret des vooooosges
Nouveau système de serrage - prototype en cours ;)
j'ai du mal à croire qu'en serrant une vis, tout le reste du cercle va descendre (tendre) uniformément avec ton système
tu crois vraiment que meme avec un cercle archi dur , qui ne se deforme pas , en serrant à 12h , le vis de 6h va se serrer aussi uniformement ?
moi j'y crois pas ...;
t'a oublié que la peau exercait un pression la ....
si , pour des kit de qualités, on met 10/12 tirants, c'est pas pour rien . c'est justement pour homogénéiser la tension à chaque tirant
tu crois vraiment qu'avec un seul tirant, on va reussir à avoir la qualité d'accordage d'une CC de 13 ou 14 pouces
quand je vois la tension que je met j'ai du mal de croire qu'en un seul point je tenderais à egalité tous les tirants de ma CC *
quand on sais que 1/4 de tour de difference sur un seul tirant fait que ma cc n'est pas accordée ....
j'ai bien peur que ton systeme ne puisse pas tendre à l'dentique la tirant opposé
c'est le "entrainer les autres en meme temps "qui me pose problemetnjdrumming a écrit :QR_BBPOST il suffit alors d'actionner l'une des vis ('n'importe laquelle) pour entrainer toutes les autres en même temps.
tu crois vraiment que meme avec un cercle archi dur , qui ne se deforme pas , en serrant à 12h , le vis de 6h va se serrer aussi uniformement ?
moi j'y crois pas ...;
t'a oublié que la peau exercait un pression la ....
si , pour des kit de qualités, on met 10/12 tirants, c'est pas pour rien . c'est justement pour homogénéiser la tension à chaque tirant
tu crois vraiment qu'avec un seul tirant, on va reussir à avoir la qualité d'accordage d'une CC de 13 ou 14 pouces
quand je vois la tension que je met j'ai du mal de croire qu'en un seul point je tenderais à egalité tous les tirants de ma CC *
quand on sais que 1/4 de tour de difference sur un seul tirant fait que ma cc n'est pas accordée ....
j'ai bien peur que ton systeme ne puisse pas tendre à l'dentique la tirant opposé
-
albator76
Nouveau système de serrage - prototype en cours ;)
Bah il utilise des vis spéciales .
Question : une fois accordée est ce que le cerclage est retiré ? Et si oui où accroches tu le micro sur 1 tom?
Pour une utilisation live
Question : une fois accordée est ce que le cerclage est retiré ? Et si oui où accroches tu le micro sur 1 tom?
Pour une utilisation live
- Tambour Fumant
- Administrateur du site
- Messages : 4330
- Inscription : 20 avr. 2021, 21:42
- Matos : E-Drum : ATV EXS- 5 / vtt xD3
- Présentation : https://www.latavernedesbatteurs.com/vi ... c64bbac6bd
- Localisation : Agent non-terrestre
- Contact :
Nouveau système de serrage - prototype en cours ;)
Avec un système d'engrenage oui, c’est possible d'avoir une force démultipliée.
Un peu comme la fonction de poulie d'Archimède !
Tu fais ça avec des vis sans fin j'imagine ?
Comment être sûr que l'amorce des vis se feras en même temps, n'y auras t'il pas un léger décalage ?
Et surtout comment tiens ton cerclage en tension sur la peau je ne comprends pas ?
Comment empêcheras-tu ton cerclage de se déboiter ?
Où sont passé les supports des tirants d'origines vu que tu ne touches pas au toms ?
Ton système implique d'acheter un cerclage par fûts ? Donc d'avoir plusieurs formats 6 / 8 /10 /12 tirants ?
Ça risque de couter bonbon cette histoire pour le stockage et pour l'acheteur !
Le cerclage ne va-t-il pas nuire à l'acoustique ?
Combien pèse-t-il en Kg, faut pas oublier les roodies, le surcout du transport... ?
C'est comme ajouter de l'accastillage sur des toms parfois cela fait un son trop assourdi, trop mat !
Alors, il faut passer en cabine acoustique pour écouter s’il y a une perturbation et c’est cher de louer une cabine, plus le matos de prise de son et les z'ingénieurs, ça douille bézef.
Pour une utilisation en concert, ça peut être pratique pour changer la peau en cas de déchirure, bien que je n'ai jamais vu un batteur péter sa peau en live !
Le plus simple, c'est de changer de fût directement, car desserrer les tirants, enlever et remettre la peau plus la retendre, trop long pour le public !
Comme le dit SpeeRoo on aime bien toucher nos tirants de faire genre (ah ça manque un pti coup là !
)
Déjà que les clés dynamométriques n'ont pas trop la cote !
Je crois que les investisseurs ou organismes de capital-risque vont faire l'impasse !
Un peu comme la fonction de poulie d'Archimède !
Tu fais ça avec des vis sans fin j'imagine ?
Comment être sûr que l'amorce des vis se feras en même temps, n'y auras t'il pas un léger décalage ?
Et surtout comment tiens ton cerclage en tension sur la peau je ne comprends pas ?
Comment empêcheras-tu ton cerclage de se déboiter ?
Où sont passé les supports des tirants d'origines vu que tu ne touches pas au toms ?
Ton système implique d'acheter un cerclage par fûts ? Donc d'avoir plusieurs formats 6 / 8 /10 /12 tirants ?
Ça risque de couter bonbon cette histoire pour le stockage et pour l'acheteur !
Le cerclage ne va-t-il pas nuire à l'acoustique ?
Combien pèse-t-il en Kg, faut pas oublier les roodies, le surcout du transport... ?
C'est comme ajouter de l'accastillage sur des toms parfois cela fait un son trop assourdi, trop mat !
Alors, il faut passer en cabine acoustique pour écouter s’il y a une perturbation et c’est cher de louer une cabine, plus le matos de prise de son et les z'ingénieurs, ça douille bézef.
Pour une utilisation en concert, ça peut être pratique pour changer la peau en cas de déchirure, bien que je n'ai jamais vu un batteur péter sa peau en live !
Le plus simple, c'est de changer de fût directement, car desserrer les tirants, enlever et remettre la peau plus la retendre, trop long pour le public !
Comme le dit SpeeRoo on aime bien toucher nos tirants de faire genre (ah ça manque un pti coup là !
Déjà que les clés dynamométriques n'ont pas trop la cote !
Je crois que les investisseurs ou organismes de capital-risque vont faire l'impasse !
“Lorsque l'on se cogne la tête contre un pot et que cela sonne creux, ça n'est pas forcément le pot qui est vide.” CONFUCIUS
- Groovy
- Pilier de comptoir
- Messages : 1286
- Inscription : 07 janv. 2018, 09:40
- Matos : Launchpad Pro MK3
Nouveau système de serrage - prototype en cours ;)
Perso au vu de son truc (bien pensé au passage) si la crémaillere est de qualité je vois pas de problème mais tu as prévu un truc pour pouvoir accorder une à une les vis la première fois sans entrainer les autres?
- Tambour Fumant
- Administrateur du site
- Messages : 4330
- Inscription : 20 avr. 2021, 21:42
- Matos : E-Drum : ATV EXS- 5 / vtt xD3
- Présentation : https://www.latavernedesbatteurs.com/vi ... c64bbac6bd
- Localisation : Agent non-terrestre
- Contact :
Nouveau système de serrage - prototype en cours ;)
Une animation, une vue 3D aurait été un plus !
Mais j'imagine que pour le brevet, ce n'est pas possible d'avoir un dessin technique
Mais j'imagine que pour le brevet, ce n'est pas possible d'avoir un dessin technique
“Lorsque l'on se cogne la tête contre un pot et que cela sonne creux, ça n'est pas forcément le pot qui est vide.” CONFUCIUS
- SCHAU1971
- Modérateur sanguinaire
- Messages : 1126
- Inscription : 17 août 2019, 18:41
- Matos : Pearl Decade Maple + kit sabian XSR
- Présentation : viewtopic.php?f=16&t=11124#p157888
- Présentation matos : viewtopic.php?f=17&t=11134
- Localisation : Oise
Nouveau système de serrage - prototype en cours ;)
Je pense qu'il est important de pouvoir repasser au serrage vis par vis ne serait-ce que si le fut est légèrement déformé... Dans ce cas cela nécessite un serrage différent par vis.. Y a déjà des systèmes qui existent sur le marché (a priori moins bien chiadé que celui présenté qui a l'air plutôt performant) pour serrer toutes les vis en même temps et pour ces systèmes, tu peux ensuite serrer les vis individuellement (le système vient juste se poser sur le tom pour le serrage)Groovy a écrit :QR_BBPOST Perso au vu de son truc (bien pensé au passage) si la crémaillere est de qualité je vois pas de problème mais tu as prévu un truc pour pouvoir accorder une à une les vis la première fois sans entrainer les autres?
- SCHAU1971
- Modérateur sanguinaire
- Messages : 1126
- Inscription : 17 août 2019, 18:41
- Matos : Pearl Decade Maple + kit sabian XSR
- Présentation : viewtopic.php?f=16&t=11124#p157888
- Présentation matos : viewtopic.php?f=17&t=11134
- Localisation : Oise
Nouveau système de serrage - prototype en cours ;)
https://www.thomann.de/fr/tru_tuner_dru ... system.htmSCHAU1971 a écrit :QR_BBPOSTJe pense qu'il est important de pouvoir repasser au serrage vis par vis ne serait-ce que si le fut est légèrement déformé... Dans ce cas cela nécessite un serrage différent par vis.. Y a déjà des systèmes qui existent sur le marché (jamais essayé de mon côté : a priori moins bien chiadé que celui présenté qui a l'air plutôt performant) pour serrer toutes les vis en même temps et pour ces systèmes, tu peux ensuite serrer les vis individuellement (le système vient juste se poser sur le tom pour le serrage)Groovy a écrit :QR_BBPOST Perso au vu de son truc (bien pensé au passage) si la crémaillere est de qualité je vois pas de problème mais tu as prévu un truc pour pouvoir accorder une à une les vis la première fois sans entrainer les autres?
- biscotto
- Modérateur sanguinaire
- Messages : 1379
- Inscription : 23 oct. 2011, 13:37
- Matos : mapex mbirch,cc sonor, cymb, zultan, zildjian
- Localisation : le havre
Nouveau système de serrage - prototype en cours ;)
Moi je pense que ce système pourrait être plus approprié à l'automobile par exemple dans le genre pour demonter les écrous de roues en même temps. Démontage remontage, avec un cliquet au milieu
Pour la batterie ?? pas pratique, cher sûrement le produit finis, pas beaucoup de vente, mon avis que que les constructeur ne changeront pas leurs tirants etc...
Pour la batterie ?? pas pratique, cher sûrement le produit finis, pas beaucoup de vente, mon avis que que les constructeur ne changeront pas leurs tirants etc...
- tnjdrumming
- J'ai vu de la lumière et j'suis entré
- Messages : 16
- Inscription : 12 août 2021, 18:18
- Matos : Premier (Scottish snare drum)
- Présentation : https://www.latavernedesbatteurs.com/vi ... 16&t=11329
Nouveau système de serrage - prototype en cours ;)
Wouaw merci à tous pour ces échanges critiques, c'est super interessant !
Je n'ai pas pu répondre tout de suite à tout le monde désolé ! J'essaye de faire une sélection des questions les plus importantes et je vous réponds très vite !!
Je n'ai pas pu répondre tout de suite à tout le monde désolé ! J'essaye de faire une sélection des questions les plus importantes et je vous réponds très vite !!
- tnjdrumming
- J'ai vu de la lumière et j'suis entré
- Messages : 16
- Inscription : 12 août 2021, 18:18
- Matos : Premier (Scottish snare drum)
- Présentation : https://www.latavernedesbatteurs.com/vi ... 16&t=11329
Nouveau système de serrage - prototype en cours ;)
Bon alors à lire les messages des uns et des autres voici ce que je peux retenir comme interrogations qui reviennent fréquemment :
- la question de la force et de la possibilité de serrer d'une main, tous les tyrans : c'est l'idée de base, dont je dois effectivement vérifier la faisabilité. C'est la raison pour laquelle un prototype doit être élaboré, j'espère prochainement.
- pour la question de l'homogénéisation de la tension à chaque tirant, oui Mr Drum, je suis vraiment convaincu que le système offrira plus de précision qu'un serrage manuel. Comme tu le dis, un 1/4 de tour sur un tirant peut ruiner l'accordage, et c'est cela que je cherche à corriger : que chaque tour de vis soit le même d'une vis à l'autre. La couronne dentée en contact avec chaque vis dentée également jouera ce rôle.
- la question de l'adaptation du système avec les exigences de jeu/concert, etc : effectivement, il est nécessaire de réfléchir à un système adapté, qui doit pouvoir accueillir des micros, ne pas perturber la sonorité du matos, rester léger. J'ai tout ça en tête bien sur
- je note bien l'intérêt de pouvoir continuer à serrer les vis de façon indépendante, et de pouvoir ajuster toujours un peu à droite ou à gauche. Mais là, pour l'instant, je coince en solution technique. Je garde ça de coté ! En revanche, il. a un vrai sujet pour l'amorce : le système doit assurer que chaque vis démarre au même stade de tension, pour qu'il n'y ait pas de décalage qui ne sera pas récupérable...
- je retiens bien sur la question du coût, qui est pour moi quelque chose de très important, d'autant qu'il faudra un système par fût (comme n'importe quel autre cercle finalement). Tiens j'en profite : en imaginant qu'un tel produit sorte et qu'il faille éventuellement en mettre sur plusieurs de vos fûts, quel budget accepteriez-vous de dépenser ?
Merci c'est hyper stimulant en tout cas !
- la question de la force et de la possibilité de serrer d'une main, tous les tyrans : c'est l'idée de base, dont je dois effectivement vérifier la faisabilité. C'est la raison pour laquelle un prototype doit être élaboré, j'espère prochainement.
- pour la question de l'homogénéisation de la tension à chaque tirant, oui Mr Drum, je suis vraiment convaincu que le système offrira plus de précision qu'un serrage manuel. Comme tu le dis, un 1/4 de tour sur un tirant peut ruiner l'accordage, et c'est cela que je cherche à corriger : que chaque tour de vis soit le même d'une vis à l'autre. La couronne dentée en contact avec chaque vis dentée également jouera ce rôle.
- la question de l'adaptation du système avec les exigences de jeu/concert, etc : effectivement, il est nécessaire de réfléchir à un système adapté, qui doit pouvoir accueillir des micros, ne pas perturber la sonorité du matos, rester léger. J'ai tout ça en tête bien sur
- je note bien l'intérêt de pouvoir continuer à serrer les vis de façon indépendante, et de pouvoir ajuster toujours un peu à droite ou à gauche. Mais là, pour l'instant, je coince en solution technique. Je garde ça de coté ! En revanche, il. a un vrai sujet pour l'amorce : le système doit assurer que chaque vis démarre au même stade de tension, pour qu'il n'y ait pas de décalage qui ne sera pas récupérable...
- je retiens bien sur la question du coût, qui est pour moi quelque chose de très important, d'autant qu'il faudra un système par fût (comme n'importe quel autre cercle finalement). Tiens j'en profite : en imaginant qu'un tel produit sorte et qu'il faille éventuellement en mettre sur plusieurs de vos fûts, quel budget accepteriez-vous de dépenser ?
Merci c'est hyper stimulant en tout cas !
- biscotto
- Modérateur sanguinaire
- Messages : 1379
- Inscription : 23 oct. 2011, 13:37
- Matos : mapex mbirch,cc sonor, cymb, zultan, zildjian
- Localisation : le havre
Nouveau système de serrage - prototype en cours ;)
Et surtout n'oublie pas qu'il s'agit malgré tout d'un instrument de Musique
C'est à dire Qu 'au finale tu devrais pouvoir connaître la note de ton Tom, pour pouvoir minimum concurrencer les Applis tel, le Tune bot, tension watch tama etc...
Sinon ou est l' intétêt dis moi ? gagner 5mn une fois par an ?
Une prise pour adapter un manométre de pression et une abaque avec la note en Hz du fut sont un minimum à ajouter si tu veux atteindre le wow
C'est à dire Qu 'au finale tu devrais pouvoir connaître la note de ton Tom, pour pouvoir minimum concurrencer les Applis tel, le Tune bot, tension watch tama etc...
Sinon ou est l' intétêt dis moi ? gagner 5mn une fois par an ?
Une prise pour adapter un manométre de pression et une abaque avec la note en Hz du fut sont un minimum à ajouter si tu veux atteindre le wow
-
Mr drum
- Fait partie des murs
- Messages : 13131
- Inscription : 08 déc. 2010, 21:18
- Matos : PEARL et pis c'est tout!! et le home made
- Présentation matos : viewtopic.php?f=17&t=45&p=365#p365
- Localisation : dans ma foret des vooooosges
Nouveau système de serrage - prototype en cours ;)
c'est un systeme de cremaillere à chevron plus vis sans fin si je ne m'abuse (je ne regle qu'une vis pour que tout le cerclage se sert (descende donc) )
j'ai franchement le doute que ca puisse serrer uniformément sur tout le pourtour
au niveau de la vis ca va descendre comme il faut c'est sur mais à l'opposé le cercle va vriller et ne pas descendre à la meme position que la vis de serrage
ou alors !! ce cerclage est over beton et pese à lui seul 10 kg (et meme la, j'suis pas sur qu'on arrive à une homogénéisation de la tension sur tout le pourtout
tu met des vis inversé qui devront tourner en meme temps . et c'est la que ca va coincé !!
si le cerclage se vrille, les autres vis ne tourneront pas librement comme tu l'a imaginé
il faudrait une courroie qui entraine toutes les autres vis pour etre sur quelle tourne toute à la meme "vitesse"
et la, ca va devenir une usine à gaz le truc
j'ai franchement le doute que ca puisse serrer uniformément sur tout le pourtour
au niveau de la vis ca va descendre comme il faut c'est sur mais à l'opposé le cercle va vriller et ne pas descendre à la meme position que la vis de serrage
ou alors !! ce cerclage est over beton et pese à lui seul 10 kg (et meme la, j'suis pas sur qu'on arrive à une homogénéisation de la tension sur tout le pourtout
tu met des vis inversé qui devront tourner en meme temps . et c'est la que ca va coincé !!
si le cerclage se vrille, les autres vis ne tourneront pas librement comme tu l'a imaginé
il faudrait une courroie qui entraine toutes les autres vis pour etre sur quelle tourne toute à la meme "vitesse"
et la, ca va devenir une usine à gaz le truc
-
Mr drum
- Fait partie des murs
- Messages : 13131
- Inscription : 08 déc. 2010, 21:18
- Matos : PEARL et pis c'est tout!! et le home made
- Présentation matos : viewtopic.php?f=17&t=45&p=365#p365
- Localisation : dans ma foret des vooooosges
Nouveau système de serrage - prototype en cours ;)
arf non !! je me suis mal exprimé
c'est ta vis de serrage qui va faire tourner ce cerclage equipé d'une cremaillere à chevron (incliné donc)
et tu pense qu'en tournant cette cremaillere, touts les vis (sans fin ) vont tendre le truc
c'est la que mecaniquement ca va coincé .
c'est sur chaque vis qu'il faut exercer un effort . ou trouver l'ange de chevron parfait qui fera que ces vis seront capable de tirer (à ce jour , je ne sais meme pas si ca existe ce systeme inversé je dirais . c'est toujours la vis qui entraine la cremailliere et pas le contraire )
gros doute doute donc
j'suis mecanicien et des cremaillieres, des vis sans fin; c'est mon lot quotidien. le moteur est toujours sur la vis, pas sur la cremailliere . (en mode chevron j'entends . en dents droite c'est une autre histoire )
c'est ta vis de serrage qui va faire tourner ce cerclage equipé d'une cremaillere à chevron (incliné donc)
et tu pense qu'en tournant cette cremaillere, touts les vis (sans fin ) vont tendre le truc
c'est la que mecaniquement ca va coincé .
c'est sur chaque vis qu'il faut exercer un effort . ou trouver l'ange de chevron parfait qui fera que ces vis seront capable de tirer (à ce jour , je ne sais meme pas si ca existe ce systeme inversé je dirais . c'est toujours la vis qui entraine la cremailliere et pas le contraire )
gros doute doute donc
j'suis mecanicien et des cremaillieres, des vis sans fin; c'est mon lot quotidien. le moteur est toujours sur la vis, pas sur la cremailliere . (en mode chevron j'entends . en dents droite c'est une autre histoire )
